いよいよロータリースポーツカーの後継モデル「RX-9」が登場する

RX-8は、RX-7に代わるロータリースポーツカーとして2003年に発売、10年間販売されていたモデルだが、いよいよ後継モデル「RX-9」が登場する。
予想されるエクステリアデザインは、コンセプト「アイコニックSP」をベースに量産化。フロントサイドからリアにかけてのグラマラスなボデイラインを与え、フロントエンドは、これからのマツダトレンドになるEZのデザインを採用、ヘッドライトはスリム&シャープなデザインだ。アンダー部分はマツダらしい湾曲したデユフューザーとスポーティーなアンダースカートを装備すると予想される。

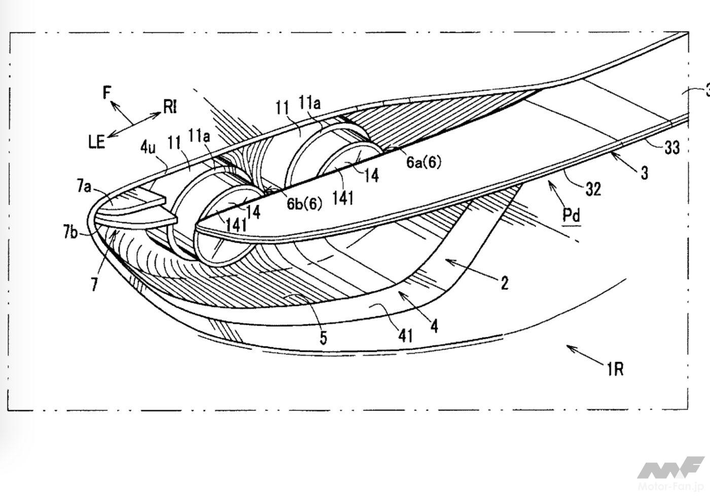
注目は、同社が特許申請をしたことがわかっている「アクティブリアスポイラー」の装備だ。申請したイラストを見ると、テールライトの上部に重なるように配置され、高速では、自動で角度を変えてダウンフォースを生む可能性がありそうだ。
ボディはRX-8の4ドアから2ドアになることで、全長4300mm、全幅1800mm、全高1200mm、ホイールベース2600mmと、RX-8よりコンパクトになることが予想される。またコックピットは、ワイドな1枚のインフォテインメントシステムが予想される。


パワートレインは、800ccの縦置き2ローター、電気モーターを搭載、駆動方式はFRで、最高出力は380psを発揮、ドライサンプの採用で重心がかなり下がることが予想される。
RX-9のワールドプレミアは、2025年秋と噂されている。アイコニックSPで披露されたボディカラー「VIOLA RED」(ヴィオラ・レッド)の設定も期待される。
